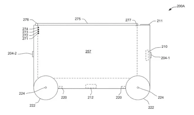
Amazons har sökt patent på en liten leveransrobot som permanent befinner sig hos mottagaren och är dedikerad för leveranser till en viss fastighet/bostad. Roboten är precis som liknande konkurrerande robotar – exempelvis Starship – utrustad med kameror, sensorer och datorer som organiserar och kommunicerar order- och leveransprocessen. Roboten har ett låst lastutrymme som mottagaren kan öppna med hjälp av en unik kod. Enligt Amazon kommer roboten även att kunna låsa upp garagedörrar och leverera på egen hand när mottagaren inte är hemma. Lastutrymmet kan utrustas med kylning och sensorer som gör det möjligt att hantera färskvaror.
Huruvida patentet slutligen resulterar i en färdigutvecklad produkt återstår att se. Innovationen jämfört med andra koncept är att det aktuella patentet baseras på att varje robot är mottagarens egen, och programmerad för att leverera just till den enskilde mottagaren. Eftersom roboten ”bor” i mottagarens hem så behöver ingen vara hemma för att ta emot leveransen och risken för stölder blir minimal.
Källa: The Spoon






